工業防水插座特點
1、安全可靠
A、工業防水插座不同電壓等級其外殼顏色有所區別的,比如220V為藍色、380V為紅色,這樣可以讓使用者一眼看出區別避免用錯;
B、不同規格、型號的產品直徑、芯數都是完全不同的,這就導致只有同種型號規格的才能插接避免誤差;
C、具備防觸電保護能力,插座中接地極插頭比中線和相極都要長一些,這就讓其在插接時地線先連接而拔掉時地線最后拔掉;
D、防護等級較高,目前工業防水插座的防護等級常見的有IP44(防濺)和IP67(防浸)兩種,人體正常情況是無法碰觸到其帶電部件且可在很多惡劣條件下使用;
E、連接緊密、導電性能好,在插頭插座的插套上配有彈性箍,連接更緊密、導電更好且壽命更長;
F、配備保護裝置讓插頭插座連接更加緊密,進一步提升了工業防水插座的可靠性;
G、配備電纜持夾裝置,可以在連接的時候夾住線纜絕緣皮,大大提升了插頭插座使用時的安全性。
2、經久耐用
A、機械性能優異,由于其外殼使用優質工程塑料制成具有較高的強度(抗沖擊、抗踩踏),生產中所使用的塑料、橡膠產品都具有抗老化特性;
B、耐熱、阻燃性,外殼、絕緣部件都可承受100℃的高溫具有較強的耐熱性,重要的不更甚至可以承受125℃左右的高溫且具有阻燃的性能;
C、壽命長,比如在16A電流的條件下可以正常拔插5000次以上;
3、通用性強
該產品不僅采用了國標GB/T 11918~11919-2001標準還兼顧了IEC60309-1、2標準,這就讓我們國標工業防水插座產品可以在國際上通用。
以上三類工業防水插座特點讓其具有較高的安全性和通用性,所以近些年在我國被逐步重視且得到較快發展。通過近些年發展目前在港口碼頭、電力、機械、建筑等領域廣泛使用,而生產廠家也從開始幾個到目前的幾十家。并且隨著我國科學技術的發展也讓工業防水插座技術不斷進步,更多功能更全、性能更優、更穩定的插頭插座產品進入了各行各業。

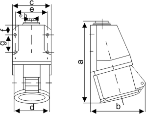
ZYY-113 ZYY-123
16A:a-135 b-92 c-71 d-50 e-57 f-20 g-32.5 h-6.5
32A:a-153 b-102 c-71 d-65 e-57 f-20 g-32.5 h-6.5
ZYY-114 ZYY-124
16A:a-140 b-95 c-71 d-56 e-57 f-20 g-32.5 h-6.5
32A:a-152 b-104 c-71 d-64.5 e-57 f-20 g-32.5 h-6.5
ZYY-013 ZYY-023
16A:a-140 b-95 c-71 d-56 e-57 f-20 g-32.5 h-6.5
32A:a-152 b-104 c-71 d-64.5 e-57 f-20 g-32.5 h-6.5










